I tablet e gli smartphone in commercio: consigli su come acquistare quello giusto

Screenshot_72

Quante volte ci siamo soffermati a guardare con interesse gli smartphone, o i tablet, in una vetrina, cercando di comprendere le loro reali caratteristiche tecniche? In realtà, tra numeri e sigle di diverso tipo ci ritroviamo con la testa sempre più confusa e piena di dubbi. Ecco, a questo proposito, alcuni consigli utili.

Prima di tutto, è bene analizzare le schede tecniche sia dei tablet che degli smartphone. Questo perché permette all’utente di comprendere con precisione quali sono le caratteristiche principali di un modello o di un altro.

Attenzione, poi, alla differenza sostanziale che esiste tra un tablet e uno smartphone: il primo, di fatto, è un dispositivo portatile che vi permetterà di accedere ad internet, o in generale ai social network. Non solo: vi permetterà di modificare i documenti, fare calcoli, scattare foto, giocare e leggere libri digitali. In realtà, quindi, lo possiamo paragonare ad un iPod, ma con dimensioni sicuramente più elevate.

Lo smartphone, invece, non è altro che un semplice…cellulare. Ovviamente dotato di funzioni avanzate che vi permetteranno non solo di fare telefonate, ma anche di arricchire la vostra giornata con tante altre funzioni.

Andiamo, poi, alle note dolenti: come si sceglie uno smartphone oppure un tablet? In realtà, si tratta di una scelta piuttosto personale, in quanto dipende dalle funzioni di cui necessitiamo o di cui abbiamo reale bisogno.

Se vogliamo parlare di funzioni tecniche dei tablet, abbiamo diversi modelli di riferimento (e attualmente disponibili in commercio): il Lenovo Yoga Tablet 10, ad esempio, è uno dei tablet più utilizzati dagli utenti. Questo perché possiede una batteria davvero unica nel suo genere (ben 18 ore di carica ininterrotta), ed è caratterizzato dal sistema operativo Android 4.2.

L’unica pecca riguarda la fotocamera posteriore: risoluzione limitata che porta ad avere immagini di discreta qualità.

Se, invece, vogliamo parlare di smartphone, allora non possiamo non menzionare un’altra particolare caratteristica da tenere bene a mente: la fascia di prezzo. In commercio ne possiamo trovare di diversi tipi, e tutti caratterizzati da prezzi decisamente differenti. La base di partenza (per gli smartphone più economici) si aggira intorno ai 100 euro.

Per intenderci, uno degli smartphone più economici è l’Alcatel One Touch POP 3, mentre uno di più costosi attualmente presenti in commercio è il Sony Xperia Z 5. Diversi prezzi, e ovviamente diverse  funzioni previste.

In definitiva, prima di fare un acquisto cercate di comprendere se avete più bisogno di un tablet oppure di uno smartphone: una volta compreso questo, non vi resterà che cercare le funzionalità più vicine ai vostri gusti.

Iphone 6 Plus: 1 GB di ram

C’è chi si aspettava un upgrade per quanto riguarda la RAM disponibile per i nuovi modelli iPhone, ed una volta avvenuta la presentazione è stato constatato che il modello da 4.7 pollici e schermo retina HD montava in realtà lo stesso quantitativo di RAM dei modelli precedenti: 1 GB, ma i dubbi erano rimasti per il modello Plus, ovvero il 5.5 pollici Retina Full HD.

Secondo nuove informazioni in realtà nemmeno il modello più grande è più risoluto avrebbe un quantitativo di RAM doppio, fermandosi agli attuali e consueti 1024mb.

L’informazione è seguita anche da uno screen che mostrerebbe appunto i vari dettagli tecnici dell’IPhone 6 Plus ed effettivamente la quantità di memoria presente non sembrerebbe minimamente paragonabile ai 2 Gb ipotizzati:

Peer cui anche quest’anno si salta, magari l’anno prossimo verrete accontentati…

Brevetto: volume regolato in base alla distanza dal viso

13.05.28-Proximity-1

Un nuovo brevetto di Apple immagina un iPhone che regoli automaticamente il volume degli altoparlanti in relazione alla distanza dall’orecchio dell’utente. Il brevetto, confermato negli scorsi giorni presso lo USPTO, descrive un sistema basato su diversi sensori.

Le fotocamere di iPhone messe a confronto

iphone-cameras-130513

iPhone 5 ha una fotocamera che può fare concorrenza a quella di alcune fotocamera compatte disponibili nei supermercati di tutto il mondo. Ma come sono migliorate le fotografie scattabili con iPhone dal primo smartphone di Apple del 2007 ad oggi? I creatori dell’app Camera+ hanno provato a cercare una risposta.

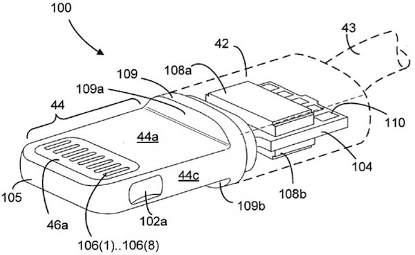
Lighting: Apple brevetta il nuovo connettore

lightning_connector_patent_1-800x491

Dopo una presentazione in pompa magna insieme ad iPhone 5 lo scorso autunno, Apple ha finalmente brevettato il connettore Lightning. I documenti relativi al brevetto, depositati presso lo US Patent and Trademark Office, descrivono non soltanto le caratteristiche hardware del connettore, ma anche le sue diverse funzioni adattabili quando viene attaccato ad un dispositivo.

Pegatron assume 40 000 nuovi dipendenti per il nuovo iPhone?

large_52581560

Pegatron lavora insieme ad Apple per produrre iPhone 4S e iPad mini. E mentre pare che per la compagnia di Cupertino stiano diminuendo gli ordini ai fornitori, complice una minore richiesta per il tablet da 7,9 pollici introdotto da Apple lo scorso autunno, Pegatron assume altri 40 000 dipendenti.

Sharp comincia a produrre gli schermi per iPhone da giugno?

pihonescreen

Quando vedremo il nuovo iPhone? Benché alcune voci di corridoio delle ultime settimane indicassero un possibile lancio estivo, pare che Apple continuerà a seguire il modello applicato lo scorso anno e l’anno precedente, lanciando iPhone 5S (e, chissà, un iPhone economico) durante i mesi di settembre o ottobre. Nuove notizie dalla Cina sostengono infatti che Sharp avrebbe ricevuto un ordine per la produzione dei display del nuovo iPhone, che dovrebbero entrare in produzione a partire dal prossimo giugno.

Prototipo: un telefono con schermo flessibile

Schermata 2013-04-29 alle 16.18.16

Come sarà il futuro degli smartphone? Quando si tratta di tecnologia è facile lasciare correre la fantasia, e la situazione della telefonia che ricordiamo solo dieci anni fa ci fa credere che di qui a qualche anno potremmo tenere in mano oggetti che, ad oggi, riteniamo semplicemente inverosimili. Ora un team del Queen University Human Media Lab in Canada hanno sviluppato un prototipo che sa davvero di futuristico.

Tim Cook: “Apple non guarda solo alla dimensione del display”

iphone_5_black_front-150x282

Ci sarà veramente un iPhone con uno schermo di maggiori dimensioni? Questa sembra essere una delle domande calde di questi mesi, mentre i rumor riguardo la produzione di uno smartphone marchiato Apple con un grande schermo (maggiore dei 4 pollici di iPhone 5) continuano ad aumentare. Ora Tim Cook, CEO di Apple, ha detto la sua durante l’ultima conference call per la presentazione dei risultati finanziari della compagnia.

Evernote pensa a produrre un dispositivo elettronico

Evernote-Moleskine

Sembra che Evernote sia interessata a produrre un dispositivo elettronico. La compagnia, celebre per la sua piattaforma che consente di prendere appunti e trovarli sincronizzati su una ampia gamma di dispositivi, si trova messa in difficoltà dalla sempre maggiore concorrenza di servizi, incluso Google Keep, anche gratuiti.

Samsung guarda iPhone e HTC One e pensa a materiali più pregiati

s4-close-up-130414

Samsung produce i dispositivi più apprezzati sul mercato dopo iPhone. La gamma Galaxy rappresenta infatti il principale concorrente per iPhone, ma bisogna ammettere che la qualità dell’hardware di Samsung non è sempre eccezionale, soprattutto quando si tratta di materiali. Ora, una nuova voce dalla Corea, racconta che Samsung starebbe cercando di migliorare proprio questo aspetto.

Anche Microsoft interessata a produrre uno smartwatch

microsoft-watch

Pare che gli smartwatch siano la notizia del momento. Non solo sembra che Apple stia lavorando ad un iWatch da lanciare sul mercato entro la fine dell’anno. Non solo Samsung starebbe lavorando nello stesso settore per essere pronta a fare concorrenza a Cupertino, ma ora si scopre che anche Microsoft avrebbe un team al lavoro sul design di un orologio intelligente.

Galaxy S4: semplice da riparare secondo un teardown

gs4dsc08066

Se avete comprato un Samsung Galaxy S4, sarete felici di sapere che è facilmente riparabile. Al contrario di iPhone, che viene prodotto sostanzialmente per non essere più smontato (se non dalle mani esperte degli addetti di Apple) il nuovo telefono di punta del colosso coreano può facilmente essere disassemblato e riparato in casa.

Galaxy S 4: Samsung sceglie la GPU di iPhone

Non è ancora ufficiale, considerato che il dispositivo non è ancora stato fatto a pezzi (Non essendo ancora stato nemmeno presentato) ma pare che il Galaxy S 4 che Samsung sta lanciando in queste ore avrà un processore grafico non differente da quello di iPhone 5.

iPhone 5S: impronte digitali e NFC in arrivo?

Rumor dell’ultima ora in arrivo dal China Times indicano alcune caratteristiche per il nuovo iPhone 5S. Stando a quanto riportato dalla rivista asiatica, Apple avrebbe stretto un accordo con una azienda di Taiwan che avrebbe il compito di sviluppare i driver per un sensore NFC e un sistema biometrico per il riconoscimento delle impronte digitali.

iPhone 6 con ricarica senza cavi?

Il non sempre affidabile Digitimes riporta una storia secondo cui Apple starebbe lavorando ad un sistema per la ricarica senza fili per la nuova generazione di iPhone. Secondo le fonti del giornale, Apple starebbe creando una nuova tecnologia attualmente non disponibile sul mercato per le ricariche senza cavi.

Touchscreen: un mercato da 32 miliardi di dollari entro il 2018

Se ancora non lo avevate capito, i touchscreen stanno avendo un ruolo sempre più importante nella tecnologia che utilizziamo quotidianamente. Il mercato per i moduli touschreen è destinato a duplicare nel giro di qualche anno. DisplaySearch stima che dai 16 miliardi di dollari del 2012, il mercato possa arrivare a movimenti per 32 miliardi di dollari nel 2018.

iPhone 5: nuove fotografie

Altre fotografie del nuovo iPhone sono comparse sulla rete oggi. Gli scatti mostrano alcuni sensori, pulsanti e la scocca del dispositivo oltre a quello che potrebbe essere l’elemento protettivo montato dietro al display da 4 pollici.

8 funzioni per gli auricolari di iPhone

Se usate spesso gli auricolari forniti con iPhone potreste sapere che è possibile alzare e abbassare il volume della riproduzione. Ma in realtà c’è molto altro che potete fare. Di seguito trovate una lisa con 8 funzioni delle quali forse non sapevate l’esistenza.

Nuovo iPhone: foto del cassetto SIM e del pulsante Home

Apple ha combattuto duramente per riuscire a far valere la propria proposta per un nuovo standard nel settore delle schede SIM. La nuova nanoSIM che la ETSI ha approvato la scorsa primavera potrebbe fare il suo debutto già sul nuovo iPhone. Degli scatti rubati sono comparsi nelle scorse ore sulla rete, e stando alle fonti che li hanno procurati, quello ritratto nelle immagini sarebbe il nuovo cassetto per le SIM del prossimo smartphone di Cupertino.